要闻
便于拆卸和维修-机械结构设计
时间:2020-11-08 05:51 阅读:
机械结构设计要便于拆卸和维修图 例 说明

不合理

合理 改进后,箱壁上打2~4个工艺孔,轴承外圈拆卸方便

不合理

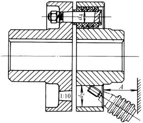
合理 改进后,轴承盖设计了工艺螺纹孔,可避免非正常拆卸
弹性柱销联轴器的柱销,在不移动其他零件的条件下,应能自由拆卸,尺寸A视拆装柱销而定

不合理

合理 改进后,增大了扳手空间,便于拆装 
不合理

合理 改进后,在件底部留有坡度,便于拆卸 
不合理

合理 改进后,结构上设计便于拆卸的钩槽;改进后,结构上设计起盖螺钉或拆卸受力点
- 上一篇:塑料齿轮的设计
- 下一篇:生产线上的机器人工作原理动画