要闻
机械设计基础-公差与配合
一、公差与配合、形状和位置公差1、互换性
同一批规格大小相同的零件,任取其中一件,不经选择和再加工,就能顺利地装配成符合使用要求的产品,这种性质称为互换性。在现代化的大量或成批生产中,互换性是工业产品必备的基本性质,日常生活中使用的自行车、钟表等它们所用的零件都有互换性。零件具有互换性,有利于生产分工协作,也有利于采用先进工艺和专用设备进行高效率的专业化生产。这不仅可以缩短生产周期、降低成本和保证质量,还可以为产品提供备件,以利维修。
公差与配合制度是实现互换性的必要条件。国家标准《公差与配合》(GB1800~1804-79)适用于圆柱面及其他由单一尺寸确定的表面或结构的尺寸公差,以及由它们组成的配合。在实际生产中要严格遵守,在图样上必须正确标注。
2、公差与配合的定义及有关术语
1)公差
在零件的加工过程中,由于受到机床、刀具、夹具、量具和操作者技术水平等方面的影响,加工出来的零件尺寸必然存在一定的误差,一批零件的尺寸也不可能绝对相等。因此,在设计时,为了保证零件的互换性,应根据零件的使用要求和加工条件,合理地给零件的某种尺寸规定一个允许的变动量,这个允许尺寸的变动量就是尺寸公差,简称公差。
由4-1(a)表示孔和轴的配合尺寸为φ50
图4-1(b)、(c)分别注出了孔和轴直径的允许变动量。图4-2是说明图4-1所注尺寸公差与配合的示意图。
现以轴的尺寸
为例[图4-1(c)](图4-2),介绍有关尺寸公差的术语和定义。

(1)基本尺寸 设计给定的尺寸。例如图中φ50。
(2)实际尺寸 通过测量所得的尺寸(存在测量误差)。
(3)极限尺寸 允许尺寸变化的两个界限值,它以基本尺寸为基数来确定。
最大极限尺寸 两个极限尺寸中较大的一个。例如图中轴的尺寸φ49.991。
最小极限尺寸 两个极限尺寸中较小的一个。例如图中轴的尺寸φ49.975。
实际尺寸在两个极限尺寸所决定的区间内算合格。
(4) 尺寸偏差(简称偏差)某一尺寸减去基本尺寸所得的代数差。尺寸偏差有上偏差、下偏差和实际偏差。国家标准规定用代号ES和es分别表示孔和轴的上偏差,用EI和ei分别表示孔和轴的下偏差。上、下偏差统算极限偏差。
上偏差=最大极限尺寸-基本尺寸。例如图中轴的上偏差es=49.991-50=-0.009。
下偏差=最小极限尺寸-基本尺寸。例如图中轴的下偏差ei=49.975-50=-0.025。
偏差可以为正值、负值或零。图4-2(b)中,孔的下偏差EI即为零。
实际尺寸减去基本尺寸所得的代数差称为实际偏差。实际偏差在上、下偏差所决定的区间内算合格。
(5) 尺寸公差(简称公差)允许尺寸的变动量,即
公差=最大极限尺寸-最小极限尺寸=上偏差-下偏差。例如图4-2中。
轴的公差=49.991-49.975=-0.009-(-0.025)=0.016。
公差没有正、负号,它是绝对值,也不能为零。

(6) 零线在公差与配合的图解(简称公差带图)中,确定偏差的一条基准线,即零偏差线。图4-3为公差带图。通常,零偏差线表示基本尺寸。
(7) 尺寸公差带(简称公差带)在公差带图中,由代表上、下偏差的两条直线所规定的一个区域。孔的公差带用向左下方倾斜的45°平行细实线表示,轴的公差带涂黑(一般画点)。
(8) 标准公差国家标准表列的用以确定公差带相对于零线位置的上偏差或下偏差,一般为靠近零线的那个偏差。例如,图4-2中确定轴公差带位置的基本偏差是上偏差-0.009。
2)配合
配合是指基本尺寸相同的、相互结合的孔和轴公差带之间的关系。这里的孔和轴主要指圆柱形的内、外表面,也包括内外平面组成的结构。孔和轴配合时,由于它们的实际尺寸不同,将产生间隙或过盈。
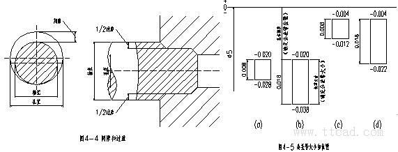
间隙或过盈孔的尺寸减去相配合的轴的尺寸所得的代数差。此差值为正时是间隙,为负时是过盈,如图4-4所示。

3、标准公差与基本偏差
在公差与配合中,公差带是个很重要的概念,图4-5是表示公差带大小和公差带位置的示意图。
例如图4-5中(a)与(b)的上偏差数值相同,说明公差带相对于零线的最近位置相同。下偏差的数值不相同,是因为(a)的公差为0.008mm,(b)的公差为0.018mm,即公差带大小不同。(a)与(c)的公差带位置不同,但公差带大小相同。而(a)与(b)的公差带位置和大小都不同。
由此可见,公差带是由“公差带大小”和“公差带位置”两个要素组成的。公差带大小由“标准公差”确定,公差带位置由“基本偏差”确定,形成标准公差和基本偏差两个系列。从图4-5中可以进一步看出,(a)与(b)基本偏差相等,标准公差不等。(a)与(c)标准公差相等,基本偏差不等,(a)与(d)则标准公差与基本偏差都不等。国家标准对公差带的两个要素分别进行标准化,是为了得到多种不同大小和不同位置的公差带。这样即满足不同的使用要求,又达到简化统一、便于生产的目的。
- 上一篇:材料疲劳的两种类别
- 下一篇:食品机械设计的基本要求